- Steyr Puch PKW
- Haflinger Teile
-
Fiat Modelle
-
Fiat 500 1957-75
- 0. Infobereich
- Geschenkartikel, Merchandising
- 1. Motor
- 2. Getriebe
- 3. Tachometer und Wellen
- 4. Radaufhängungen
- 5. Lenkung
- 7. Räder und Bremsen
- 8. Bedienungsorgane, Seilzüge
- 9. Elektrik (Zündung, Leuchten...)
- 10. Blechteile
- 11. Karosserieteile
- 12. Sonderzubehör
- 13. Literatur
- 14. Werkzeug und Sonderzubehör
- Modellautos
- Topolino Teile/Onderdelen
- Fiat 124 Sport Spider Limousine Teile
- Fiat 126 Teile
- Fiat 600 Teile
- Fiat 850 Teile/Onderdelen
- Fiat X1/9 Teile
- Fiat 1100 Teile
- Fiat Trapezlinie 13/1500/C/L/18/21/2300 Teile
-
Fiat 500 1957-75
- Fiat/Lancia Modelle. Lagerabverkauf
- Oldtimerbedarf
- Service und Links
- Literatur
- Blog
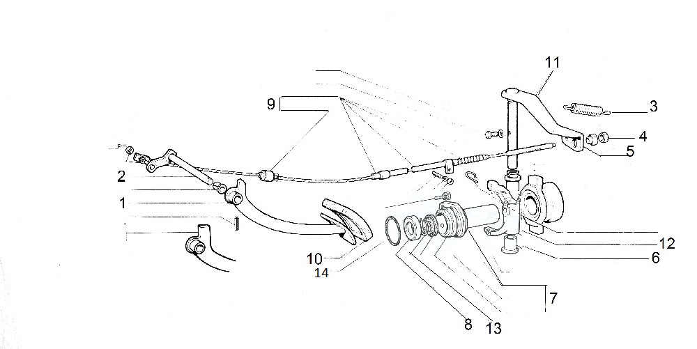
8.4 Kupplung
Produkte filtern
Produktnummer: 2x8x121
Das Pedal paßt nicht auf 500 N,D,F,L,. Für diese Modelle muß die Welle mit Hebel 2x8x127 zur Reparatur verwendet werden, italienische Producktion
Produktnummer: 2x8x127_
Da es kein passendes Kupplungspedal für 500 F, L mehr gibt, muß dieser Teil zur Reparatur verwendet werden
Produktnummer: 2x8x140.
3004125327, Originalteil
Produktnummer: 1x8x001_