-
Steyr Puch PKW
- Steyr Puch PKW, Combi bis 1968
- Steyr Puch 500/500S ab 1968
- Haflinger Teile
- Fiat Modelle
- Fiat/Lancia Modelle. Lagerabverkauf
- Oldtimerbedarf
- Service und Links
- Literatur
- Blog
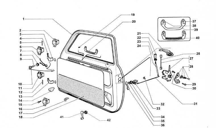
11.62 Griffe, Schlösser ...
Produkte filtern
Produktnummer: 1x11x695
506.1.88.026.1, 2x pro Türe benötigt
Produktnummer: 1x10x093.
nur für vorne angeschlagene Türen, Türscharnier, 2 Kunstofflager, Scharnierbolzen
Produktnummer: 1x11x682_S
Satz für eine Türe (2 Bolzen, 4 Büchsen)
Produktnummer: 1x11x641_
Metall, original
Produktnummer: 1x11x686
506.1.81.050.0, Lochabstand 105mm
Produktnummer: 1x11x674
Produktnummer: 1x11x675_PAAR
506.1.81.860.0, 5061818600
Produktnummer: 1x11x702
506.1.81.093.1, 3004219381